Sau cao điểm mua sắm dịp cận Tết nguyên đán, ngày trong ngày đầu tiên của tháng 2/2022 và cũng là mùng 1 Tết Nhâm Dần, giá iPhone vẫn hông bị tăng như những dự đoán trước đó, thậm chí giá bán của iPhone 13 Pro Max mới nhất còn tiếp tục duy trì giảm giá sâu.
Xem thêm tại đây
BlackBerry bán các bằng sáng chế di động trị giá 600 triệu USD cho Huawei
Cách đây một năm, BlackBerry đã bán 90 bằng sáng chế cho Huawei. Hiện công ty đã công bố một thỏa thuận trị giá 600 triệu USD để bán thêm nhiều bằng sáng chế liên quan đến thiết bị di động, nhắn tin và mạng không dây. Catapult IP Innovations có trụ sở tại Delaware được thành lập đặc biệt để nắm giữ các bằng sáng chế của BlackBerry. Số tiền được chia thành 450 triệu USD tiền mặt và 150 triệu USD cổ phiếu.
Xem thêm tại đây
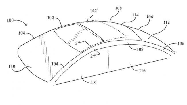
Apple Car được cấp bằng sáng chế cửa sổ trời thông minh
Chúng ta đã quen với việc các bằng sáng chế từ Apple cho thấy các công nghệ mới mà công ty đang thử nghiệm trên các thiết bị của mình. Mới đây, văn phòng Thương hiệu và Sáng chế Hoa Kỳ đã cấp cho Apple bằng sáng chế cho cửa sổ trời trên ô tô, thứ chắc chắn không được sản xuất cho iPhone hay iPad.
Xem thêm tại đây
Samsung Galaxy S22 Ultra lộ ảnh báo chí rõ nét trước ngày ra mắt
Những hình ảnh báo chí đầu tiên của Galaxy S22 Ultra đã được tiết lộ thông qua leaker nổi tiếng Evan Blass. Đầu tiên, thiết kế tổng thể của Galaxy S22 Ultra sở không khác nhiều so với chiếc Note 20 Ultra, máy vẫn đi kèm với kiểu dáng vuông vứt cùng viền màn hình siêu mỏng. Về theiét kế, Galaxy S22 Ultra sử dụng màn hình 6.8 inch Dynamic AMOLED 2X, hỗ trợ HDR10+, tần số quét 120Hz, độ sáng lên đến 1.750 nits. Kích thước máy bao gồm 163.3 x 77.9 x 8.9 mm, dày hơn một chút so với Note 20 Ultra (8.1mm).
Xem thêm tại đây
Rò rỉ Nokia G60 Pro: Thiết kế khiến iPhone 13 rơi lệ, cấu hình làm nhiều ông lớn Android lo lắng
Mới đây, trên mạng xã hội đã xuất hiện những hình ảnh đầu tiên về Nokia G60 Pro. Đây sẽ là phiên bản nâng cao của chiếc Nokia G60 5G và là một bước tiến bởi năm ngoái, dòng G50 không có bản Pro.
Xem thêm tại đây
Phát sốt trước vẻ đẹp Nokia X80 Pro: Đậm chất tương lai, màn hình cong, mạnh vượt trội iPhone 13
Mặc dù tầm ảnh hưởng của thương hiệu Nokia đã trôi qua một thời gian dài nhưng nó vẫn tồn tại Mặc dù không thể so sánh với các thương hiệu điện thoại di động như Apple và Huawei, nhưng một khi xuất hiện concept mới về Nokia, nó ngay lập tức được người dùng đón nhận tích cực. Điều này cho thấy mức độ quan tâm đến thương hiệu Nokia của người dùng vẫn còn rất lớn.
Xem thêm tại đây
Nokia G50 cười khẩy trước đối thủ ngang giá nhưng thiết kế kém xa, cấu hình chạy cả ngày mới bằng
(Techz.vn) Một smartphone mới ra mắt với giá bán ngang với Nokia G50 nhưng đi kèm cấu hình khiến Nokia G50 không cần sợ hãi cho lắm.
