Theo trang web thiết kế, công nghệ, khoa học – Gizmodo, cơ quan quản lý bằng sáng chế và nhãn hiệu của Mỹ (USPTO) vừa công bố đơn đăng ký sáng chế số 20200033815 với chủ đơn là Apple Inc. Apple Inc đã đăng ký sáng chế cho một thiết bị có tên gọi "Đồng hồ với cảm biến quang học cho phép người dùng nhập liệu". Từ thông tin này, giới công nghệ dự đoán rất có thể đây chính là thế hệ Apple Watch Series 6.
Apple Watch Series 6 sẽ bỏ đi nút điều hướng Digital Crown?
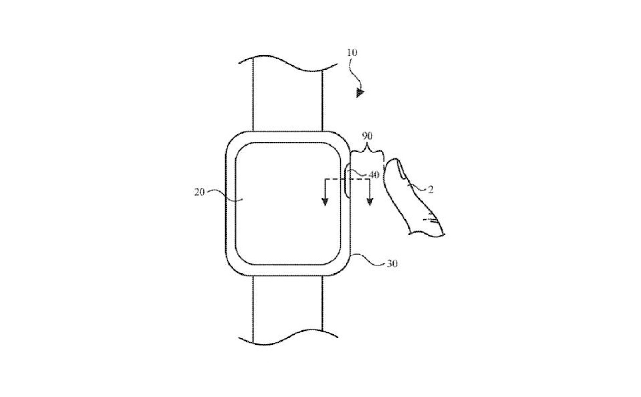
Theo như bản mô tả của sáng chế này thì Apple sẽ loại bỏ đi nút điều hướng (Digital Crown) mang tính biểu tượng của Apple Watch. Đây là nút vật lý với khả năng nhấn và xoay để thao tác các chức năng trên chiếc đồng hồ thông minh của Apple. Thay vào đó, người dùng sẽ sử dụng cơ chế cảm biến quang học để thực hiện các thao tác điều khiển trên Apple Watch mới.
Giới công nghệ đánh giá sự thay đổi lớn này sẽ là một cuộc cách mạng. Chiếc Apple Watch mới sẽ trở nên tối giản và gọn hơn so với các phiên bản trước nhờ việc loại bỏ nút điều khiển Digital Crown. Tuy nhiên, trước khi được trải nghiệm trực tiếp mẫu đồng hồi thông minh mới này, chúng ta vẫn chưa thể biết được cơ chế điều khiển mới sẽ đem lại sự tiện lợi cho người sử dụng hay không.
Apple đã nộp đơn đăng ký sáng chế vào ngày 26/7/2019. Thông thường, thời giant rung bình kể từ thời điểm nộp đơn đến khi được cấp bằng sáng chế ở Mỹ là khoảng 32 tháng. Do đó, vẫn chưa thể khẳng định liệu Apple có kịp đưa sáng chế mới này vào thế hệ Apple Watch mới để ra mắt vào tháng 9 như mọi năm hay không.
Trong khi đó, mới đây hãng công nghệ Oppo của Trung Quốc đã tiết lộ hình ảnh mẫu smartwatch mang thương hiệu Oppo. Đáng chú ý là thiết kế của mẫu đồng hồ này rất giống với Apple Watch và không có nút điều khiển xoay kiểu Digital Crown. Nếu như công nghệ mà Oppo sử dụng trên mẫu đồng hồ này giống như bản mô tả sáng chế của Apple thì có thể dẫn tới việc Apple sẽ trở thành kẻ đi sau.
Hướng dẫn đăng ký gói cước GLI50 của Viettel, nhận ưu đãi 102GB data 4G chỉ với 50.000đ mỗi tháng
(Techz) Với ưu đãi “siêu to khổng lồ” của gói cước GLI50 mà Viettel cung cấp, người dùng có thể thỏa thích sử dụng lưu lượng data 4G để truy cập internet tốc độ cao mà không cần lo nghĩ về chi phí.
