Dù chân phanh và chân ga trên xe ô tô đã xuất hiện từ lâu nhưng việc lầm lẫn giữa hai vị trí này khi di chuyển trên đường đôi khi gây ra các tai nạn đáng tiếc. Nhưng với một bằng sáng chế mới đây, việc tài xế nhầm lẫn chân ga và chân phanh khi thao tác trên đường có thể sẽ lùi vào dĩ vãng.
Mới đây Stellantis - tập đoàn mẹ của Fiat, Chrysler và PSA Group của Pháp, sở hữu các thương hiệu như Alfa, Dodge, Jeep, Peugeot và nhiều hãng khác - đã đệ trình một thiết kế bằng sáng chế mới để tài xế có thể đổi hướng, tăng tốc và phanh dừng xe ngay trên vô lăng mà không cần đến các bàn đạp bên dưới nữa.



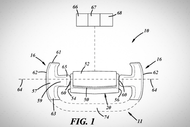
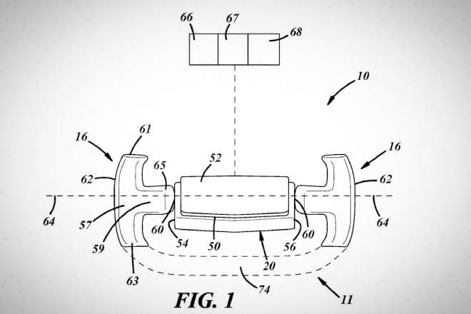
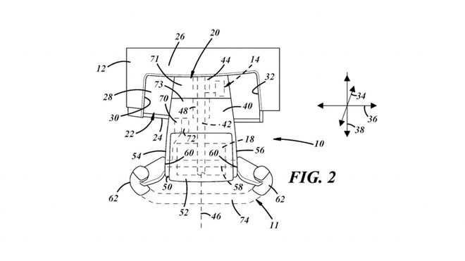
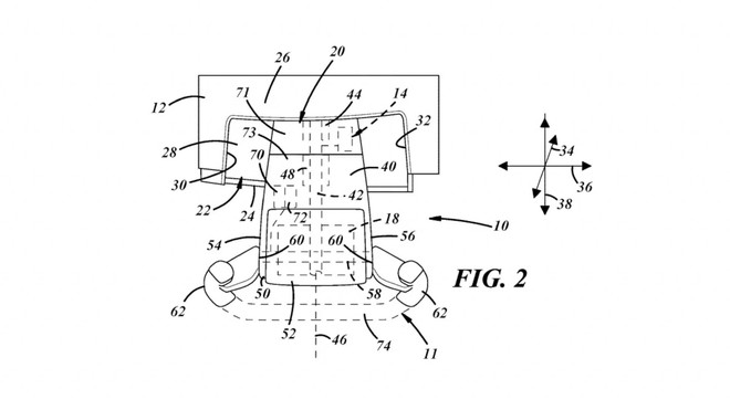
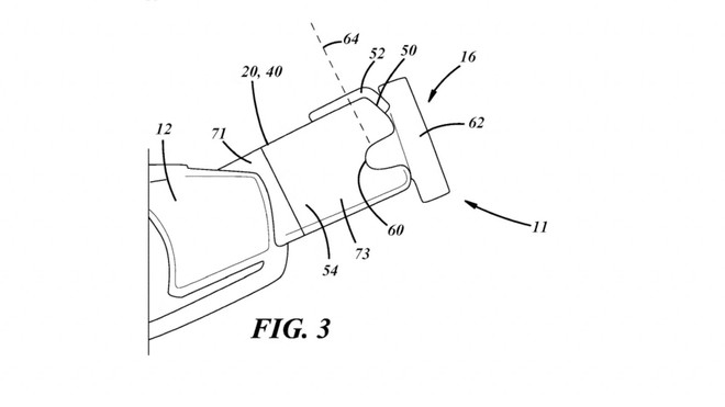
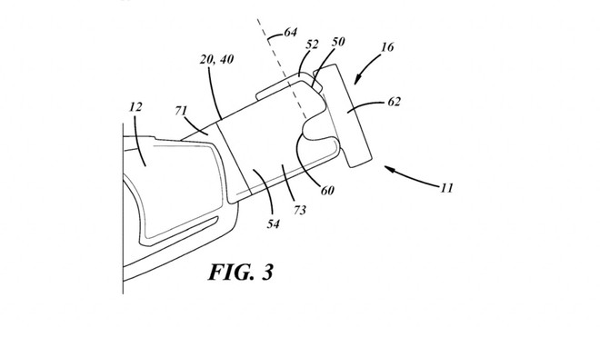
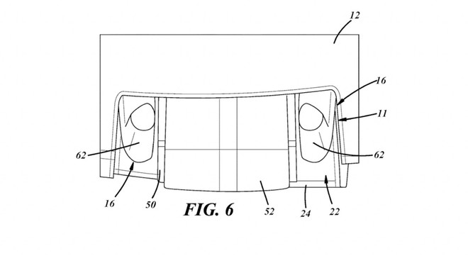
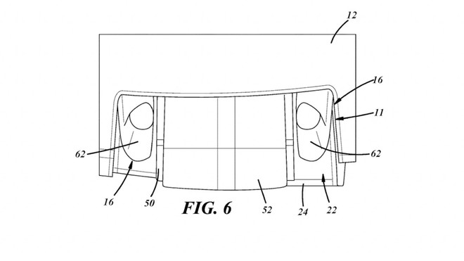
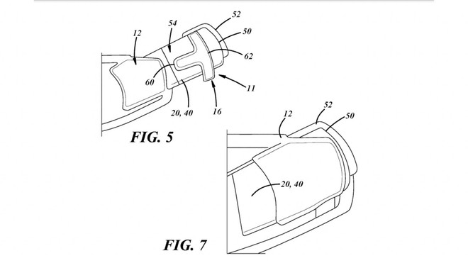
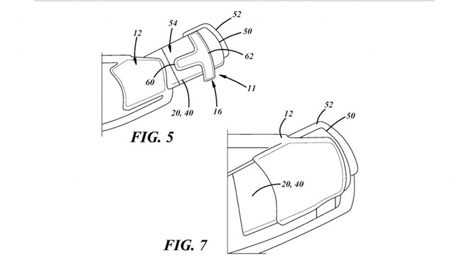
Hình vẽ bằng sáng chế mới
Trên thực tế, phương thức điều khiển này vẫn đang được áp dụng hoàn hảo trong không gian ba chiều như khi lái máy bay. Bánh lái có thể đẩy để lao xuống, kéo để bay lên, xoay để nghiêng... nhưng bạn vẫn cần bàn đạp để điều khiển hướng di chuyển.
Những tưởng có thể giải quyết được vấn đề của việc nhầm lẫn chân ga và chân phanh, nhưng ý tưởng này lại có thể gây ra các vấn đề khác khi được áp dụng cho xe di chuyển trên mặt đất.
Khi di chuyển trên mặt đất, quán tính có thể gây ra nhiều vấn đề khi sử dụng phương thức này để tăng giảm tốc độ hoặc dừng xe lại. Không kể đến các tình huống va chạm bất ngờ, chỉ cần đi qua các đoạn đường xóc hoặc các gờ giảm tốc cũng có thể tác động làm vô lăng di chuyển theo hướng ngoài ý muốn và gây ra các tình huống còn nguy hiểm hơn nhiều so với khả năng bị nhầm lẫn chân ga và chân phanh.
Đó là còn chưa kể các tình huống khi có trẻ con ngồi trong xe nghịch ngợm cũng có thể ảnh hưởng không nhỏ đến việc điều khiển trong thực tế. Vì vậy đối với nhiều người, bằng sáng chế này có vẻ không thực tế và đang cố gắng sửa chữa một vấn đề "không hề hỏng hóc, nhưng hãy sửa cho đến khi nó hỏng."



Tuy vậy, những người khuyết tật phần thân dưới sẽ được hưởng lợi rất nhiều từ thiết kế như vậy. Những người bị liệt tứ chi hoặc liệt nửa người tiếp tục lái xe phải lắp đặt phần cứng đắt tiền hoặc phức tạp để điều khiển bàn đạp chân bằng tay. Ngay cả những người cụt cả hai tay lái xe chỉ bằng chân cũng có thể được hưởng lợi từ giải pháp vô lăng hoàn chỉnh, giữ cả hai chân trên vô lăng.
Về lý thuyết, nhà sản xuất xe có thể tạo ra một bộ điều khiển mô phỏng đua xe tuyệt vời, trong đó bộ điều khiển lái ổn định và không bị ảnh hưởng bởi lực G trong thế giới thực khi rẽ, tăng tốc và phanh.
Một điều cần lưu ý rằng không phải lúc nào việc đệ đơn xin cấp bằng sáng chế cũng có nghĩa thiết kế đó sẽ được đưa vào sản xuất trong thực tế. Nhiều bằng sáng chế được cấp phép nhưng chưa từng được đưa vào sử dụng trong thực tế. Nó chỉ có nghĩa rằng Stellantis có khả năng làm như vậy nếu họ muốn, còn để biến ý tưởng này thành sản phẩm thương mại, sẽ cần có nhiều yếu tố khác đi kèm.
Stellantis gần đây đã công bố rằng tất cả các phương tiện thế hệ tiếp theo của họ sẽ được trang bị STLA AutoDrive, STLA Brain và STLA (Smart) Cockpit. AutoDrive là phiên bản của Stellantis tương đương với Autopilot của Tesla, BlueCruise của Ford hoặc Super Cruise của GM.
Yves Bonnefont, Giám đốc Phần mềm của Stellantis, mô tả rằng nền tảng của các phương tiện tự lái là một CPU trung tâm có quyền truy cập vào tất cả các cảm biến và cơ cấu vận hành, khả năng cập nhật qua mạng và khả năng kiểm soát đồng bộ tất cả phần mềm trên tất cả các thương hiệu của Stellantis. Đây là điều mà bộ phần mềm STLA sẽ có.
