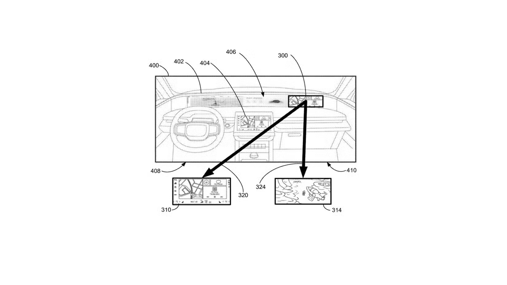
Trong nỗ lực giải quyết tình trạng "bội thực" màn hình và đảm bảo an toàn, Ford vừa được cấp bằng sáng chế cho công nghệ màn hình hiển thị kép (Dual View Display) tiên tiến, cho phép người lái và hành khách xem hai nội dung riêng biệt trên cùng một tấm nền.
Các nhà sản xuất ô tô đang cố gắng nhồi nhét mọi thứ vào xe mới, bao gồm cả việc tăng kích thước và số lượng màn hình. Điều này đôi khi gây ra rào cản, ví dụ như việc cho phép hành khách xem phim hoặc giải trí trên màn hình trung tâm mà không làm người lái bị phân tâm. Ford đã tìm ra giải pháp thông minh cho vấn đề này thông qua bằng sáng chế mới nhất của mình, có tên gọi là Dual View Display.
Công nghệ này áp dụng trên một màn hình duy nhất nhưng cho ra hai kết quả hiển thị khác nhau tùy thuộc vào góc nhìn của người xem. Điều này khác cách làm truyền thống là chỉ đơn thuần chặn tầm nhìn của người lái. Nhờ đó, hành khách có thể thoải mái xem video, chẳng hạn như YouTube, trong khi người lái vẫn sử dụng cùng một màn hình đó để hiển thị thông tin tập trung vào việc lái xe, ví dụ như bản đồ.
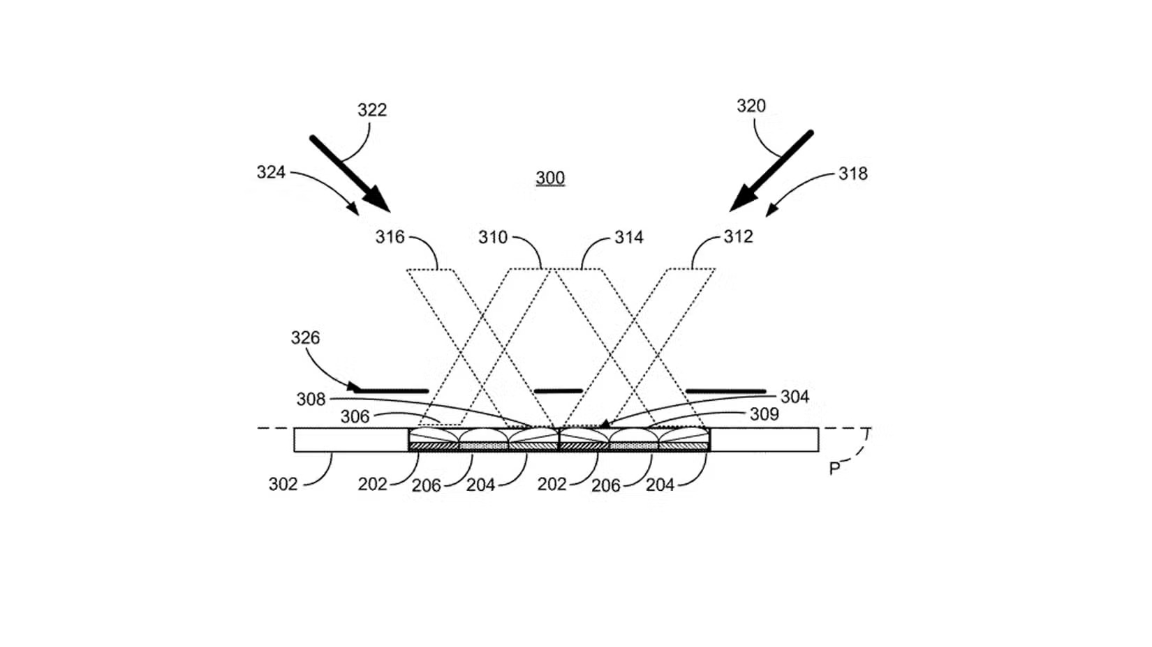
Để đạt được điều này trên một tấm nền LED duy nhất, Ford đã mô tả một công nghệ phức tạp. Mỗi góc nhìn (dành cho tài xế và hành khách) cần có một vùng LED riêng biệt bên trong đơn vị hiển thị. Mỗi vùng LED này lại được bao phủ bởi một mảng thấu kính siêu nhỏ (micro-lenses) riêng biệt. Một mảng thấu kính sẽ tập trung hình ảnh vào góc của hành khách và mảng còn lại tập trung vào góc của người lái. Vì các đèn LED được kiểm soát riêng lẻ, hai góc nhìn có thể nhận được hai hình ảnh hoàn toàn khác nhau.
Điểm mấu chốt để công nghệ này hoạt động hoàn hảo là một "hàng rào" Parallax (Parallax Barrier) được đặt ở phía trước màn hình. "Rào chắn" này là một phát minh đã có từ khoảng 20 năm trước và được áp dụng trên TV 3D, giúp mỗi mắt nhìn thấy một hình ảnh hơi khác nhau để tạo ra hiệu ứng chiều sâu.
Công nghệ này nếu nghe sẽ không thấy mới mẻ vì đã từng xuất hiện trên Mercedes-Benz S-Class. Nhưng điểm khác biệt đó là công nghệ trên S-Class sử dụng lớp lọc ánh sáng (phân cực) trên tấm nền LCD, đôi khi chất lượng hình ảnh và độ phân giải của hai góc nhìn có thể bị ảnh hưởng. Trong khi loại của Ford mới công bố dùng trên màn hình LED, đảm bảo độ phân giải và chất lượng hình ảnh tối ưu hơn cho cả hai người xem, bất chấp góc ngồi.
Ford cũng cho biết hệ thống này được đặt ở vị trí cao trên bảng điều khiển, tương tự như thiết kế màn hình iDrive Panoramic của BMW. Mặc dù công nghệ này rất ấn tượng, nhưng thách thức đặt ra là làm thế nào để đảm bảo màn hình vẫn hoạt động hoàn hảo với phạm vi điều chỉnh vị trí ghế lái rộng, từ đẩy lên sát vô lăng cho đến lùi ra sau.
Hiện vẫn chưa rõ thời điểm công nghệ Dual View Display được áp dụng trên các sản phẩm của Ford.
Hoàng Dũng
